
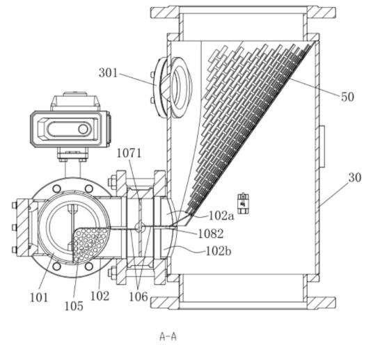
凝汽器端蓋式膠球清洗裝置(端蓋式膠球清洗機)產品使用說明?一種端蓋式膠球清洗裝
置,包括出水管、進水管和集球驅動器,出水管內
設有捕球濾網;集球驅動器包括儲球筒、收球管
路、發球管、一通斷閥和進出水控制閥,儲球筒
內腔被一過濾網分隔為一腔體和二腔體,
收球管路包括入水通道和出水通道;發球時,儲
球筒內的膠球在自身重力下可通過發球管向外
流出;在收球時,一通斷閥關閉,進出水控制閥
打開,膠球和水流在水流壓差作用下通過入水通
道進入儲球筒的一腔體內,膠球在儲球筒內被
一過濾網阻擋,水流通過出水通道回流至出水
管,實現壓差收球;這種集成式膠球清洗裝置,相
對于現有技術中采用壓差收發球的膠球清洗裝置,具有結構簡單、制作成本低、節省耗能等的優
點。
中央空調在運行時冷凝器換熱管內部流通有冷卻水,長時間運行后,冷卻水中的
淤泥、溶解的鹽分會沉積在換熱管內壁,導致冷凝器的換熱效率嚴重下降,運行能耗上升。

目前,一般采用膠球清洗裝置(端蓋式膠球清洗機)對冷凝器的換熱管進行在線清洗。
一種端蓋式膠球清洗機m.kghuolongguo.com,包括封頭管箱、設置在封頭管箱一端的出水
管和進水管、設置在出水管和進水管之間的球水分離器,球水分離器具有收球口和發球口,
封頭管箱內設有上管箱和下管箱,上管箱的前端連通出水管,出水管內設有捕球濾網和與
捕球濾網的出口端連通用于在膠球和水流進入出水管時利用壓差將膠球回收至球水分離
器的收球口內而水流回流至出水管的上壓差管,球水分離器內還設有用于將膠球和水流分
離的球水分離濾網,發球口內設有用于在收球時防止膠球從發球口流出的二通斷閥;下
管箱的前端連通有進水管,進水管內設有用于在進水管進水時利用壓差將膠球從球水分離
器的發球口發出的下壓差管,收球口內設有用于在發球時防止從收球口流出的一通斷
閥;球水分離器還連通有用于在上壓差管將膠球回收至球水分離器內時將球水分離器內水
排出至出水管的出水口、用于在進水管進水時將水導入下壓差管內以將膠球從球水分離器
內發出的進水口以及用于控制進水口和出水口通斷的進出水控制閥。

但是,這種端蓋式膠球清洗裝置(端蓋式膠球清洗機)的收球過程和發球過程都需要利用水流壓差,而且
需要設置一通斷閥、二通斷閥和進出水控制閥這三個閥,特別是進出水控制閥還包括
伸進球水分離器內的內筒,內筒的進出水口和外筒的進出水口之間還需要設置密封環,結構較為復雜,生產成本較高。